|
Poslao: 14 Jul 2020 11:16
|
offline
- Drug pukovnik

- Legendarni građanin
- Pridružio: 31 Dec 2011
- Poruke: 5723
|
Već se neko vrijeme odlučujem o pokretanju ove teme, meni zanimljiva, a mogla bi biti i drugima koji bi voljeli vidjeti kako leti ili kako bi letila neka raketa. Zapravo me je najviše ''pogurao'' @Lucije Kvint, a ideja je otvoriti temu, nešto ukratko opisati teoretske postavke i kao konačnica imati jedan program na kojem Lucije radi i nadam se da će uspjeti ga kompletirati. Ja se u to razumijem ko mara u krivi pa ne mogu pomoći, ali stvarno bi bilo svjetski imati takav online program gdje bi svatko mogao uneti neke svoje podatke i puknit raketu, a program odradi račun i izbaci rezultat tog leta kroz brojeve i grafove. Pa više neće baš biti moguće valjati ljude i pisat plakate, ova raketa leti koliko god joj ja kažem.
Cijela ova tema, moram to reći, će biti ipak jedan grublji proračun balistike rakete. Račun će se bazirati na gibanju, mehaničari to kažu materijalne točke. Također nećemo za sada uvoditi nikakve momente inercije, točke težišta i pritiska, ignorirat ćemo fakt da potisak raketnog motora nije strogo u osi vektora brzine kretanja tijela pa usljied toga vektor te sile se ipak razlaže na dvije komponente, jedna tangencijalna, a druga normalna na os vektora brzine. Nećemo uvoditi napadne kuteve i sile uzgona koje su uvijek prisutne u manjoj ili većoj mjeri. Svega tu ima još dodatnog što utječe na konačni rezultat, visinskih vjetrova različitih po smjeru i intezitetu, utjecaj azimuta lansiranja rakete, geografski položaj mjesta lansiranja, gubici od rotacije rakete itd itd.
Ali vjerujem da i takav grublji račun može dati dovoljno precizan rezultat i da bude u okvirima +/- 5-10% od stvarnog stanja. Kasnije u detaljima i kako se priča bude širila će biti jasnije zašto je teško postići savršenstvo u računu koji je jedan integralni račun gdje je gotovo sve varijabilno i u funkciji nečega.
Prvo treba podjeliti let na tri osnovna dijela:
1)Gibanje rakete po lansirnoj rampi ili u lansirnoj cijevi
2)Aktivni dio leta
3)Pasivni dio leta
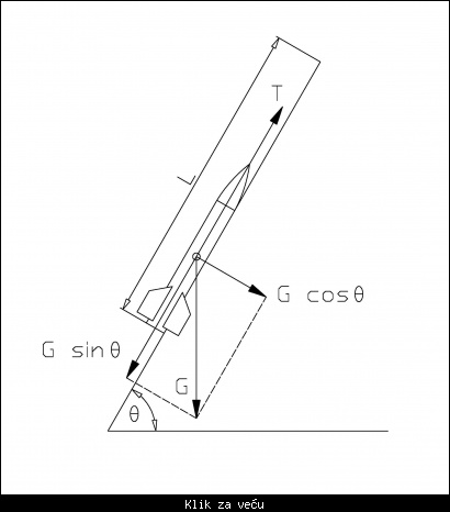
Prvi dio je potreban da se odredi kolika će biti brzina rakete na kraju rampe ili cijevi duljine L. Drugi dio je let rakete sa aktivnim raketnim motorom i treći dio je inercijalni balistički let.
Svaka od ovih faza se može ukalupiti u svoje diferencijalne jednadžbe i to u izvedenom stanju izgleda ovako.
Znači imamo izmjene brzine u vremenu, izmjene kuta vektora brzine u vremenu i izmjene položaja rakete po x i po y u vremenu. Od svega ovoga na dvije vrijednosti se trebamo osvrnuti, to su sila potiska raketnog motora i sila aerodinamčkog otpora.
Raketni motor može biti jednorežimni ili dvorežimni, što hoće reći potisak može biti jednovrijednosni ili dvovrjednosni. Bilo bi zgodno imati takvu mogućnost, recimo da se uvodi t1 i t2, i rashodi goriva u t1 i u t2. Time se i sila potiska sukladno računa. U svakom slučaju potisak motora može biti neutralan, progresivan i degresivan sa vremenom. Zapravo nikada nije takav da je sila potiska strogo konstantna, ali za ovaj naš nivo je dovoljno da ga takvim smatramo.
Kod sile aerodinamičkog otpora imamo samo jednu konstantu, a to je referentna površina rakete, poprečna površina rakete na najvećem vanjskom promjeru. Sve ostalo je varijabla i to brzina, gustoća zraka i nesretni koeficijent otpora.
Nama je za račun najpogodnija funkcija promjene gustoće zraka sa visinom i to je ovo.
Gustoća zraka jako puno utječe na rezultat leta i nikako se ne smije zanemariti iz proračuna. Ali barem je ta funkcija izvediva i dovoljno stabilna da se lako koristi.
Za razliku od koeficijenta tangencijalnog (čeonog, aksijalnog) otpora koji je najproblematičniji i za odrediti i za integrirati ga u račun. Koeficijent Cx se daje u funkciji Mahovog broja i zbog toga je potrebno u matrici imati i funkciju brzine zvuka koja ovisi o temperaturi medija, ali pošto je to nama od slabe vajde imaćemo brzinu zvuka u funkciji visine što je zapravo graf iste forme.
Znači brzina rakete/brzina zvuka je mahov broj i s njim idemo u graf Cx=f(M) ... najgori i najveći problem
Raznih je funkcija i grafova, ali za opernate rakete koje su naš tip projektila najvalidniji je graf po zakonu godine 1958 – graf Cx58. Osim njega imamo Cx56 koji je vrlo blizak, Cx43 koji je za artiljerijska zrna, funkcije po Demogu, Siačiju, Maijevskom itd.
To je jedan graf koji je prezentacija etalona, etalonske rakete, a svaka druga raketa bi se trebala (barem u teoriji) opisati usporedno sa etalonom preko koeficijenta oblika koji se označava kao i58.
Cx = i58 * Cx58
Kada je i58 jednako 1 to kaže da je ta raketa sa identičnim koeficijentom otpora etalonske rakete. Ako je i58=1,3 znači da su vrijednosti 30% veće nego kod etalona. Lijepo u teoriji, ali u praksi je to malo zamršenije.
Odrediti vrijednosti i imati graf Cx=f(M) za neku raketu je patnja. Matematičkih operacija čitavo čudo, pregršt kojekakvih dijagrama iz kojih se vade vrijednosti, termodinamika bez koje ne ide i svačega nečega. A generalno za odrediti Cx neke rakete je potrebno odraditi 5 proračuna za svaki mahov broj koji će biti referentni.
Suma tih podračuna, a to su dio od trenja tijela, trenja krila, utjecaj prednjeg konusa ili oživala, utjecaj obilka krila i otpor dna daje konačni Cx za dani mahov broj. Dobijenim vrijednostima se ulazi u etalonski Cx58 graf i elaborira se kako račun prati etalon, prema tome se definira koeficijent oblika i dalje po potrebi u izračun balističkog koeficijenta.
Koeficijent otpora za neku raketu nije isti za aktivni dio i za pasivni dio leta, a razlika je u komponenti otpora dna. Dok motor radi i mlaz je u repu rakete otpor dna je manji. Koeficijent otpora rakete u pasivnoj fazi je uvijek veći nego u aktivnoj fazi, to daje i odgovor zašto granate za base bleedom lete dalje.
Do sada se može izvući i zaključak zašto putnički avioni krstare na visinama oko 11km, ili zašto je najekonomičniji let aviona sa podzvučnim brzinama cca 0,8M.
Međutim da ne bude sve jednostavno kada nije...koeficijent Cx ovisi i o području visine. Nije isti Cx za isti mahov broj na različitim slojevima atmosfere i to dodatno komplicira već komplicirani model integracije u račun. Primjer rakete Skud, kako se mjenja graf funkcije na visinama 0, 20, 40 i 60 kilometara visine. Puna linija je etalon Cx58, točkaste linije su aktivne faze, a crtkane su pasivne faze.
Za početak toliko, a dalje kako se tema bude razvijala.
|
|
|
|
|
Registruj se da bi učestvovao u diskusiji. Registrovanim korisnicima se NE prikazuju reklame unutar poruka.
|
|
|
Poslao: 14 Jul 2020 21:42
|
offline
- Lucije Kvint

- Super građanin
- Pridružio: 03 Jan 2012
- Poruke: 1116
- Gde živiš: Beograd
|
Kolega Drug pukovnik me je na temi o Nevi zainteresovao za modelovanje leta rakete, izlaganjem relativno jednostavnog fizičkog modela koji je dao solidno poklapanje sa tabličnim podacima i grafikonima iz literature.
Ako uporedimo diferencijalne jednačine za aktivnu i pasivnu fazu leta, jasno je da je lakše modelovati aktivnu fazu, dok motor radi: potisak motora je definisan za dovoljnom tačnošću, kao i sila teže, a sila otpora vazduha unosi najveću komplikaciju... Medjutim, ona je u aktivnoj fazi leta tek 0 do 25 % posto od sile raketnog motora (raste sa porastom brzine, sa kvadratom), cifre stavljam pomalo napamet ali mislim da načelno ne grešim mnogo, tako da nesigurnost u poznavanju koeficijenta Cx ne pravi veliku grešku u ukupnom ubrzanju rakete, što će rezultovati dobrim slaganjem izračunatih i pravih parametara leta. Medjutim, nakon prestanka rada motora sila otpora vazduha daje glavninu (negativnog) ubrzanja i svaka nesigurnost u poznavanju koeficijenta Cx generiše velike greške u parametrima leta rakete. Srećom da smo posao počeli od aktivne faze leta Neve, pa su rezultati brzo postali ohrabrujući.
Da bih istakao od čega sve zavisi Cx, napisaću diferencijalnu jednačinu kretanja duž tangente na putanju ovako:
m(t)*V' = T - X(h, Cx(Cv(h))) - m(t)*g*sin(teta)
Prvo h potiče od zavisnosti X od gustine vazduha, X zavisi i od odnosa brzine rakete i brzine zvuka, a brzina zvuka zavisi od visine. Kako je Drug pukovnik to već napisao, gustinu vazduha je jednostavno ugraditi u račun, ali je Cx komplikovana funkcija odnosa brzine zvuka i brzine rakete.
Da bi smo proverili kod koga sam napisao za Nevu, Pukovnik mi je dao parametre za modelovanje Lune, za koju ima balističke tablice. Komponenta Cx koja zavisi od brzine, zapravo od odnosa brzine rakete i brzine zvuka (koja zavisi od visine), preuzeta je iz literature, do mene je došla ne baš savršeno ravna kopija:
Tu sliku sam pažljivo "digitalizovao" i dobio ove vrednosti:
Ovu složenu zavisnost sam u kod ugradio tako što sam u svakom koraku integracije, za svaku tekuću brzinu, postavio proveru izmedju kojih predefinisanih tačaka je tekuća brzina, pa sam linearnom interpolacijom odredio vrednost koeficijenta za tu brzinu. Obzirom na gustinu digitalizovanih tačaka, mislim da sam vrednosti za grafik koga sam dobio za Lunu savršeno preneo u program. Kako se koeficijent otpora vazduha menja sa vremenom (Luna, ugao lansiranja 60 stepeni) može se videti na slici dole:
Dalje, polazeći od parametara za raketu Luna (sila potiska (računa se iz oslobodjene energije po jedinici mase goriva i mase goriva koja sagoreva u jedinici vremena), masa prazne rakete, masa goriva, brzina sagorevanja goriva, vreme za koje sagori gorivo), integralio sam jednačine koje je postavio Pukovnik, u sitnim koracima vremena, u petlji koja se vrtela sve dok visina rakete ponovo ne postane 0, odnosno dok ne padne na zemlju. Što je korak vremena za koje se vrti petlja sitniji, to je rezultat bliži realnom stanju.
Program smo najpre testirali za ugao lansiranja od 60 stepeni, koristeći vrednosti za dodatne koeficijente otpora 1.235 za aktivnu pa preko toga još 1.08 za pasivnu fazu. Rezultati izgledaju ovako, tablične odnosno tačne vrednosti su u zagradi:
vreme leta rakete: 153.55s (154)
domet: 64003m (67160)
ugao upada: 66.4 (63)
brzina upada: 476m/s (512)
maksimalna visina: 26481m (26430)
brzina na kraju rada motora: 1127m/s (1090)
ugao rakete na kraju rada motora: 51.8 (52.3)
daljina na kraju rada motora: 2965 m (2794)
visina na kraju rada motora: 3970 m (3813)
Možemo konstatovati da je slaganje unutar 5%, čime je Drug pukovnik bio zadovoljan . Mali komentar na ove rezultate: račun malo prednjači nad realnim rezultatima dok motor radi, razlog za to je verovatno to što je efikasnost motora ipak mrvicu manja. Dalje, u drugoj fazi rezultati podbaciju, verovatno zato što je otpor vazduha pbr u nekim delovima leta malo veći.
U vezi toga da je lakše modelovati aktivnu fazu leta, dok radi motor sila potiska je konstantna i iznosi 254740 a sila otpora vazduha: t=0;X=2240 t=1s;X=16420 t=4.4s;X=25330 t=8.8s;X=48900N, dakle u najvećem delu aktivne faze sila otpora vazduha je mala u odnosu na silu potiska motora.
Grafički, to izgleda ovako:
U grubo, brzina raste dok radi motor, onda opada dok se raketa penje po inerciji - zbog otpora vazduha i sile teže. Kada raketa dostigne maksimum visine i počne da pada, onda sila teže ubrzava raketu a sila otpora vazduha je naravno opet usporava i brzina raste. U završnici, bliže zemlji, zbog gustine vazduha otpor raste pa raketa ponovo usporava.
Na predhodnim slikama se vidi kako se sa vremenom menjaju brzina i ugao rakete u odnosu na horizont, sa vremenom. Na poslednjoj slici je data promena dinamičkog pritiska sa vremenom: sa porastom brzine brzo raste ali izlaskom iz gušćih slojeva atmosfere, uz pad brzine usled prestanka rada motora, isto tako brzo opada, da bi se najvećim delom rakete zadržao na relativno niskom nivou. Tokom faze padanja rakete, brzina se povećava a gustina vazduha raste, tako da u završnoj fazi dinamički pritisak ponovo raste. Inače je dinamilki pritisak direktno proporcionalan sili otpora vazduha, kako je to Pukovnik već elaborirao.
Program je skoro gotov i testiran. Drug pukovnik mi je jako pomogao da ga doteram i ispravim gomilu grešaka u kodu koje sam usput napravio. Lako se može primeniti na druge jednostepene rakete, uz male dorade za Cx za svaku novu raketu. Ono što još treba da uradim je:
- da napravim korisnički interfejs koji treba da omogući korisniku da unosi parametre za "svoju" raketu i uslove lansiranja;
- do "pohvatam" greške koje mogu nastati slučajnim unosom nelogičnih vrednosti za ulazne parametre
U toj fazi bih program već mogao da stavim za download i instalaciju, što nije baš praktično za zainteresovane koji bi se programom poigrali.
- da program postavim tako da bude web aplikacija, da mu svako može prići bez skidanja i instalacije na svom računaru.
Ovo što je ostalo je za mene veći deo posla, jer se tu slabije snalazim nego u provom delu, koji je odradjen. Kad će sve biti gotovo ne znam, nadam se za mesec-dva, uz sve druge obaveze.
|
|
|
|
|
|
|
|
|
Poslao: 15 Jul 2020 08:00
|
offline
- Lucije Kvint

- Super građanin
- Pridružio: 03 Jan 2012
- Poruke: 1116
- Gde živiš: Beograd
|
Ovo su vrednosti koje sam koristio, mislim da sam ih na kraju preuzeo upravo iz slike koju si postavio u predhodnom postu.
|
|
|
|
|
|
|
Poslao: 15 Jul 2020 09:08
|
offline
- Drug pukovnik

- Legendarni građanin
- Pridružio: 31 Dec 2011
- Poruke: 5723
|
Uredno si skinuo graf, ne sumnjam u to, a i vidi se prostim okom. Podatke iz tablice bi trebalo držati kao mjerodavne (prof.Janković) a graf malo ''bježi'' na okolozvučnim i zvučnim brzinama. Nebitno nam je to područje, većina raketa koje pucamo i koje ćemo pucati se tu zadrže manje od pol sekunde plus što si dobro primjetio, dok motor radi pa je udio otpora kontra potiska manje izražen.
|
|
|
|
|
|
|
Poslao: 15 Jul 2020 10:01
|
offline
- Lucije Kvint

- Super građanin
- Pridružio: 03 Jan 2012
- Poruke: 1116
- Gde živiš: Beograd
|
Za ugao lansiranja od 45 stepeni, rezultati izgledaju ovako (tablični-tačni su u zagradi):
domet: 51205m (52075)
ugao upada: -61.3 deg (-60)
brzina upada: 378 (394) m/s
vreme leta: 110.64 sec (111)
teme, visina: 13458 (13590) m
brzina nakon prestanka rada motora: 11132 (1097) m/s
daljina - II - : 4063 (3837) m
visina - II - : 2924 (2860) m
ugao - II - : 33.8 (34.7 ) deg
Za ugao lansiranja od 30 stepeni, rezultati su:
domet: 34125 m (34979)
ugao upada: -46 deg (47)
brzina upada: 327 (336) m/s
vreme leta: 66.58 sec (69)
teme, visina: 4765 (5140) m
brzina nakon prestanka rada motora: 1138 (1103) m/s
daljina -II- : 4780 (4537) m
visina - II - : 1654 (1689) m
ugao - II - : 16.9 (18.2) deg
Dakle, na primeru tri ugla lansiranja pokazano je da fizički model i kod koji ga prati sasvim dobro reprodukuju tablične rezultate za LUNU.
|
|
|
|
|
|
|
Poslao: 16 Jul 2020 07:58
|
offline
- Drug pukovnik

- Legendarni građanin
- Pridružio: 31 Dec 2011
- Poruke: 5723
|
Vrlo sam zadovoljan sa dosadašnjim rezultatima, odstupanja su, obzirom na prirodu matematičkog modela za koji sam s početka i rekao da je grublji, sasvim prihvatljiva. Uredno smo baratali sa ulaznim parametrima koeficijenata otpora za svaki zasebni slučaj, jesu to razlike od samo 1% (i58=1,247 vs i58=1,235) ali i njih smo uzimali u obzir.
Imamo pretičke brzine u aktivnoj fazi, OK, to možemo pripisati korištenju podatka o potisku bez uzimanja koeficijenta iskorištenja motora, da smo uzeli 0,95-0,97 eto pravih vrijednosti. Imamo pretičak i daljine aktivne faze koja je posljedica brzine, te visine uz opasku da se pretičak smanjuje što više spuštamo elevaciju. Da idemo i dalje i radimo pusk pod 20 imali bi već pomalo veći podbačaj visine aktivne faze, a i tjemena balističke putanje, te posljedično krajnjeg dometa.
Model je grub, ali meni zadovoljavajuć. Iako ove rakete nisu upravljive, nemaju kanare, elerone i ostalo, i njoj ništa ne znači jel leti u delta t trenutku po X ili po + projekciji, ali uplivom svega realno je očekivati neku uzgonsku silu koja će nešto kontrirati gravitacijskim silama. I što smo niže i što je dinamički pritisak veći, Lucije Kvint daj nam skupni dijagram q-t, to će efekt biti izraženiji.
Ja ne bi uvodio uzgonsku silu u program neupravljivih balističkih raketa, ostavio bi to ako ćemo kasnije raditi nešto upravljivo, a razliku točnosti bi pripisao rečenici koju je lani Oluj napisao, rečenica koju treba ponavljati svako malo i svuda:
''Možda nije viša sila možda je kombinacija naših ograničenja u znanju i jednog nama stranog upliva mikro i mega sveta u naš takozvani makro svet za koji smo suštinski antropocentrično stvorili razine vrednosti.''
Ali ipak ću napisati koju rečenicu o uzgonu i kako bi se on mogao ukomponirati u program. Opet bez formula i bez dodatnih dijagrama ne ide.
Raketa kada se naprnji i digne nos poruši ono što smo imali do tada. Nije to više onaj tangencijalni koeficijent otpora i dodatno se uvodi normalni koeficijent otpora, uzgonski koeficijent. Cx u funkciji napadnog kuta se mora korektivnim koeficijentima Kt mjenjati, povećava se nešto, a računa se po gornjoj formuli. Bez grafa Kt u fukciji kuta ništa od matematike, a ti grafovi se pak rade od slučaja do slučaja, od rakete do rakete. Ovaj treba uzeti sa rezervom ako govorimo o Luni zato što je ovaj graf od druge rakete, ali koja je dimenzionalno i u formi dosta bliska.
A isto tako svaki zasebni slučaj ima i svoj graf normalnog koeficijenta otpora koji je po funkcijskom obliku blizak tangencijalnom. Ovaj je isto tako od bliske rakete.
Znači klackalica slučaj, tangencijalni će nešto biti veći i kočiti raketu, uzgon će pak raketu malo dizati, odnosno ispravno je reći malo će usporavati propadanje. Šta će nadjačavati i kako to vremenski definirati je nešto što ja ne znam matematički prezentirati, a time i računati. U svakom slučaju uzgona bude, mora ga biti i to je ono što nam fali u računu da raketa pucana pod 60 dobije malo vjetra u strmopizdu sa tjemena i dosegne tablični domet ili da raketa pucana nisko zajaši po atmosferi gušćeg sastava i da ukliže kako treba.
Jedinica mjere Cn sa dijagrama je 1/deg.
|
|
|
|
|
|
|
Poslao: 16 Jul 2020 11:14
|
offline
- Lucije Kvint

- Super građanin
- Pridružio: 03 Jan 2012
- Poruke: 1116
- Gde živiš: Beograd
|
Dinamički pritisak zavisi od gustine vazduha i kvadrata brzine rakete. Na slici dole je data promena dinamičkog pritiska tokom vremena leta, za različite uglove lansiranja:
Podsećam da je dinamički pritisak direktno proporcionalan otporu vazduha. Kako se može videti sa slike, dinamički pritisak odnosno otpor vazduha raste sa opadanjem ugla lansiranja, što je u vezi visine na kojoj raketa leti, manji ugao, manje visine, veća gustina vazduha... Toj činjenici u prilog, evo slike zavisnosti visine trajektorije za različite uglove lansiranja.
Kada sam prvi put dobio ove rezultate, pomislio sam da sam negde pogrešio, jer domet nije maksimalan na 45 deg. Medjutim, ti rezultati su u skladu sa tabličnim vrednostima za Lunu, a i 45 deg je maksimalni domet za kosi hitac, a ovde ipak imamo projektil sa "sopstvenim pogonom". Takodje, viši uglovi znače više putanje, a to onda znači manji otpor vazduha... Možda to važi čak i za projektile bez sopstvenog pogona, ako su u pitanju velike daljine i visine: da je zbog manjeg otpora vazduha povoljnije lansirati pod većim uglom od 45, za maksimalni domet.
|
|
|
|
|
|
|
Poslao: 16 Jul 2020 12:39
|
offline
- Drug pukovnik

- Legendarni građanin
- Pridružio: 31 Dec 2011
- Poruke: 5723
|
Kosi hitac, ali u vakuum. Tada bi elevacija 45 trebala dati maksimum.
U realnoj atmosferi taj kut maksimuma ovisi od projektila do projektila, nije isti za sve. Kod Lune je 60 i dalje pljuc, domet pada. Kod Grada i Ognja 50 i onda krene dole, kod haubice 152mm je 52 stupnja itd. Znači ne ovisi o tome da li je projektil pogonjen ili ne.
Ovaj dijagram izmjena dinamičkog pritiska, odnosno koliko utiče gustoća zraka, jer gledano brzine na kraju aktivne faze bez obzira na kut lansiranja su tu negdje, se može i primjerno dati sa raketom Grad, onom starom ''drvenom''. Po brdskim tablicama razlika krajnjeg dometa po nadmorskim visinama, a pri tome sa istim temperaturama goriva se kreće ovako:
0m ... 20127m
500m … 20749 m
1000m … 21399 m
1500m … 22077 m
2000m … 22783 m
2500m … 23517m
3000m … 24279m
Startna gustoća zraka 28% manja, potisak isti (ne u teoriji, ali za ovaj nivo za sada neka bude isti), gravitacija ista, ali otpor manji i eto je 4 kilometra dalje.
|
|
|
|
|
|
|
Poslao: 17 Jul 2020 21:11
|
offline
- Lucije Kvint

- Super građanin
- Pridružio: 03 Jan 2012
- Poruke: 1116
- Gde živiš: Beograd
|
Drug pukovnik ::
A isto tako svaki zasebni slučaj ima i svoj graf normalnog koeficijenta otpora koji je po funkcijskom obliku blizak tangencijalnom. Ovaj je isto tako od bliske rakete.
Verujem da sam bio konfuzan kada sam komentarisao prenos grafika za Cx u program, pa da pokušam ponovo, uz priču o uzgonu. Dakle, kao i kod Cx, i vrednosti iz grafika za Cn treba nekako uneti u program, ovo što imamo na slici je slika . Pravolinijski i najelegantan način bi bio da se nadje funkcija koja lepo opisuje grafik na slici. Medjutim, treba uložiti napor i imati znanje da se ta funkcija nadje, ali ako je zavisnost komplikovana i funkcija će biti komplikovana, ili ćemo čak morati da je podelimo u nekoliko intervala, pa različite intervale da opisujemo različitom funkcijom. I elegantno se pretvori u neelegantno, odnosno mukotrpno. I to ne samo u razvoju koda: ako se dobiju komplikovane funkcije, što je obično slučaj ako se želi dovoljna tačnost, onda će takav kod biti i spor.
Dakle, ako je zavisnost komplikovana, jednostavnije je skinuti veći broja tačaka (gušće tačkati u intervalima gde funkcija više odstupa od linearne) i te tačke uneti kao matricu u program. Pošto su tačke sortirane po x-osi (po Mahovom broju), u svakom koraku integracije, za svaku tekuću brzinu rakete odnosno M broj, lako je napisati kod kojim će se naći izmedju koje dve ranije skinute tačke se nalazi tekuća brzina: pomoću te dve tačke se generiše jednačina prave iz koje se za tekuću brzinu (odnosno M) izračuna vrednost funkcije. Nema složenih matematičkih funkcija, samo poredjenja i 4 osnovne matematičke operacije, tako da se kod izvršava brže.
Evo tabele sa "digitalizoavnim" vrednostima sa gornjeg grafika:
Grafički, tačke iz tabele izgledaju ovako:
Nisam morao da tačkam tako gusto, radilo bi lepo i sa 20-tak tačaka, s tim da bi najveći deo tih tačaka trebalo baciti oko maksimuma i oko tačaka prevoja. Za vrednosti ispod 0.5 Mah-a može se uzeti vrednost Cn=0.13, pošto su brzine male biće mali i dinamički otpor, pa će i uzgon biti mali, tako da nesigurnost za vrednost Cn u oblasti malih brzina ne utiče na rezultat.
|
|
|
|
|
|